Por favor seleccione el país de entrega adecuado

Algunos factores como el precio de los productos, su disponibilidad u otros servicios pueden verse afectados por la selección del país de entrega.
My contact person
Vendortec Chile

Avda. Los Pajaritos 3195, Oficina 1410

Edificio Centro Maipú

Maipú – Santiago

+56 - 22 710 58 25
CL(ES)

Carro transversal drylin® SLW

drylin® SLW-XY-1040

Propiedades especiales:

Mesa XY de bajo coste especialmente indicada para ajustes manuales

Ausencia de lubricación y resistencia a la corrosión

Longitud de carrera máxima en mesas XY de 300 mm (tamaños de instalación 1040/1080)

Longitud de carrera máxima en mesas XY de 150 mm (tamaños de instalación 0630)

Disponibles en versiones pretensadas SLWE-XY-PL (tamaños de instalación 1040/1080)

Accesorios disponibles: volante, indicador de posición, etc.

Carro transversal drylin® SLW-XY-0630 drylin® SLW-XY-0630
Carro transversal drylin® SLW-XY-1080 drylin® SLW-XY-1080

Adecuados para estos artículos:


Carro transversal SLW


Solicite un sistema completo

Configuración en solo unos pocos pasos:

1. Seleccione el tamaño de instalación
2. Selecione la longitud de carrera en mm
3. Seleccione los accesorios

Aviso:

Encontrará más información en las fichas y planos técnicos, así como en los enlaces que se muestran a continuación.

drylin® SLW - carro transversal- sistema completo

Paso 1

Seleccione el tamaño de instalación del carro transversal.

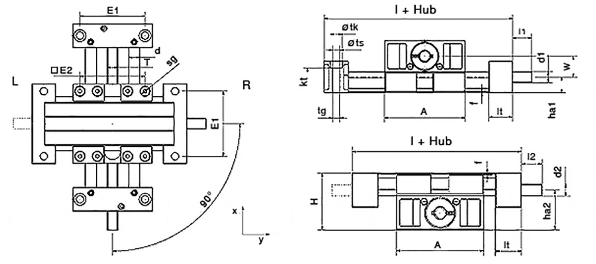
technical drawing
Tamaño de instalación:

Longitud y peso (mm)

Nº de art. A
-0,3
[mm]
H
 
[mm]
E1
±0,15
[mm]
E2
±0,15
[mm]
Base-
longitud lx
[mm]
Base-
longitud ly
[mm]
f
 
[mm]
lt
 
[mm]
tk
±0,1
[mm]
ts
 
[mm]
tg
 
kt
 
[mm]
listo para enviar en 3-4 días laborales desde Alemania SLW-XY-0630 54 38 40 45 94 94 1,5 20 9 7 - 6
listo para enviar en 3-4 días laborales desde Alemania SLW-XY-0660 85 38 71 76 125 125 1,5 20 11 6,6 - 8
listo para enviar en 3-4 días laborales desde Alemania SLW-XY-1040 74 48 60 60 117 117 1,5 22 11 6,8 M8 6,4
listo para enviar en 10 días laborales desde Alemania SLW-XY-1040-PL (1) 74 48 60 60 117 117 1,5 22 11 6,8 M8 6,4
listo para enviar en 10 días laborales desde Alemania SLW-XY-1080 108 48 94 94 151 151 1,5 22 11 6,8 M8 6,4
listo para enviar en 10 días laborales desde Alemania SLW-XY-1080-PL (1) 108 48 94 94 151 151 1,5 22 11 6,8 M8 6,4
listo para enviar en 3-4 días laborales desde Alemania SLW-XY-1660 104 72,5 84 86 154 154 1,5 25 15 9 - 8,6
listo para enviar en 10 días laborales desde Alemania SLW-XY-2080 134 82 116 116 190 190 1,5 28 15 8,6 - 8,6
Más información sobre la pieza seleccionada:
3D-CAD 3D-CAD
Pedido de muestra Pedido de muestra
PDF PDF
Consulta de precio Consulta de precio
myCatalog myCatalog

(1) Carga previa

Tamaños [mm]

Nº de art. sg
 

d
 
[mm]
T
 
l1
 
[mm]
d1
Estándar
d1
Alternativa
l2
 
[mm]
d2
Estándar
d2
Alternativa
ha1
 
[mm]
ha2
 
[mm]
W
ha2-ha1
[mm]
listo para enviar en 3-4 días laborales desde Alemania SLW-XY-0630 M4 5 M8 15 M8 M8 15 M8 9,5 28,5 18,4
listo para enviar en 3-4 días laborales desde Alemania SLW-XY-0660 M4 5 Tr08x1,5 15 Tr08x1.5 15 - 9,5 28,5 19
listo para enviar en 3-4 días laborales desde Alemania SLW-XY-1040 M6 10 TR10x2 17 TR10x2 Tr10x2 17 6h9 14,5 33,5 19
listo para enviar en 10 días laborales desde Alemania SLW-XY-1040-PL (1) M6 10 TR10x2 17 TR10x2 Tr10x2 17 6h9 14,5 33,5 19
listo para enviar en 10 días laborales desde Alemania SLW-XY-1080 M6 10 TR10x2 17 TR10x2 Tr10x2 17 6h9 14,5 33,5 19
listo para enviar en 10 días laborales desde Alemania SLW-XY-1080-PL (1) M6 10 TR10x2 17 TR10x2 Tr10x2 17 6h9 14,5 33,5 19
listo para enviar en 3-4 días laborales desde Alemania SLW-XY-1660 M8 16 M8 20 TR14x4 8h9 20 8h9 8h9 18,5 54 35,5
listo para enviar en 10 días laborales desde Alemania SLW-XY-2080 M8 20 M8 26 12h9 26 12h9 23 59 36
Más información sobre la pieza seleccionada:
3D-CAD 3D-CAD
Pedido de muestra Pedido de muestra
PDF PDF
Consulta de precio Consulta de precio
myCatalog myCatalog

SLW-XY-0630 con eje cuadrado
(1) Carga previa

La mesa XY se suministra con el volante del eje Y en el lado izquierdo o en el lado derecho.
Izquierda: SLW-XY-0630-AWM-L-200-300 para longitudes de carrera de 200 mm en el eje X y de 300 mm en el eje Y.
Derecha: SLW-XY-0630-AWM-L-200-300 para longitudes de carrera de 200 mm en el eje X y de 300 mm en el eje Y.

Adecuados para estos artículos:

listo para enviar en 24-48 horas desde Alemania Resumen de la gama de productos drylin® E

Componentes drylin® libres de lubricación y en continuo desarrollo para la tecnología de accionamiento.

listo para enviar en 24-48 horas desde Alemania
listo para enviar en 3-4 días laborales desde Alemania
listo para enviar en 10 días laborales desde Alemania

Consultas

I would be happy to answer your questions personally

Consulta y envíos

En persona:

De lunes a viernes de 7:00 a 20:00
Sábados de 8:00 a 12:00

Online:

24h


Los términos "Apiro", "AutoChain", "CFRIP", "chainflex", "chainge", "chains for cranes", "ConProtect", "cradle-chain", "CTD", "drygear", "drylin", "dryspin", "dry-tech", "dryway", "easy chain", "e-chain", "e-chain systems", "e-ketten", "e-kettensysteme", "e-loop", "energy chain", "energy chain systems", "enjoyneering", "e-skin", "e-spool", "fixflex", "flizz", "i.Cee", "ibow", "igear", "iglidur", "igubal", "igumid", "igus", "igus improves what moves", "igus:bike", "igusGO", "igutex", "iguverse", "iguversum", "kineKIT", "kopla", "manus", "motion plastics", "motion polymers", "motionary", "plastics for longer life", "print2mold", "Rawbot", "RBTX", "readycable", "readychain", "ReBeL", "ReCyycle", "reguse", "robolink", "Rohbot", "savfe", "speedigus", "superwise", "take the dryway", "tribofilament", "tribotape", "triflex", "twisterchain", "when it moves, igus improves", "xirodur", "xiros" y "yes" son marcas comerciales legalmente protegidas de igus® SE & Co. KG en la República Federal de Alemania y otros países. Esta es una lista no exhaustiva de las marcas comerciales de igus SE & Co. KG o de empresas afiliadas de igus en Alemania, la Unión Europea, EE.UU. y/u otros países o jurisdicciones.

igus® SE & Co. KG puntualiza que no vende ningún producto de las empresas Allen Bradley, B&R, Baumüller, Beckhoff, Lahr, Control Techniques, Danaher Motion, ELAU, FAGOR, FANUC, Festo, Heidenhain, Jetter, Lenze, LinMot, LTi DRiVES, Mitsubishi, NUM, Parker, Bosch Rexroth, SEW, Siemens, Stöber y cualquier otro fabricante mencionado en esta página web. Los productos que ofrece igus® S.L.U. son los de igus® SE & Co. KG.