Por favor seleccione el país de entrega adecuado

Algunos factores como el precio de los productos, su disponibilidad u otros servicios pueden verse afectados por la selección del país de entrega.
My contact person
Vendortec Chile

Avda. Los Pajaritos 3195, Oficina 1410

Edificio Centro Maipú

Maipú – Santiago

+56 - 22 710 58 25
CL(ES)

Aplicaciones autosoportadas para recorridos cortos

¿Qué significa longitud autosoportada?
 

Una aplicación se considera autosoportada cuando el ramal superior de la cadena portacables opera sin entrar en contacto con el ramal inferior en todo el recorrido. La longitud autosoportada FLG es la distancia entre el extremo móvil y el principio de la curva de radio de la cadena portacables, a lo largo de la cual el tramo superior del suministro de energía presenta un pandeo insignificante. Gracias a esto, se garantiza una vida útil más prolongada de la cadena portacables. La aplicación autosoportada es la forma más común de utilizar la cadena portacables.
Cadenas portacables autosoportadas
El tipo de instalación con recorrido autosoportado (FL)G garantiza una vida útil más prolongada y permite funcionar con valores máximos de velocidad y aceleración.

La longitud autosoportada presenta tres etapas distintas:

1

Longitud autosoportada sin pandeo FLG:
La cadena portacables dispone de pretensado o es recta.
 

2

Longitud autosoportada con pandeo FLB:
La cadena portacables dispone de un pandeo de más de la mitad de la altura de la cadena.
 

3

Pandeo crítico:
El pandeo es superior al valor admisible para FLB. Debe evitarse la instalación con pandeo crítico.

Cadenas portacables autosoportadas

Verifique los valores estándar de las longitudes autosoportadas utilizando el diagrama de carga

Los valores del diagrama de carga son esenciales para encontrar una cadena portacables adecuada para su peso de llenado y recorrido, y para determinar la carga máxima de la cadena portacables seleccionada.
 
El área negra en el diagrama de carga indica la longitud autosoportada (FLG) en la que la cadena portacables no muestra pandeo. Si aumenta el recorrido o el peso del cable, la cadena portacables comienza a ceder y se comba (FLB, el área gris claro).
 Eje YEje XS
 Peso de llenado [kg/m]Longitud autosoportada [m]Recorrido [m]
Referencia1,5 kg/m2,0 m4,0 m
Diagrama de carga de la cadena portacables Puede encontrar el diagrama de carga en la página del producto correspondiente.

Serie recomendada para aplicaciones incompatibles


¿Qué hacer si la longitud autosoportada es insuficiente?

Si su aplicación (peso de llenado y recorrido) queda fuera del rango de longitud autosoportada para la cadena portacables deseada, tiene las siguientes opciones: 
  • Elegir una cadena portacables más resistente
  • Añadir un soporte en el tramo de recorrido autosoportado Esta opción implica restricciones de aceleración, velocidad y ruido. A continuación, se detallan tres ejemplos fundamentales. Consulte a igus® si está considerando esta posibilidad. Estaremos encantados de presentarle una propuesta detallada.
  • Utilizar una cadena portacables multibanda o anidar dos cadenas portacables una dentro de otra. (Le recomendamos que consulte con igus®)
  • Configurar el recorrido como una aplicación de deslizamiento
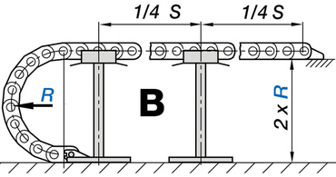
Soportes en la zona autosoportada (FLG y FLB)
Cadenas portacables autosoportadas A: El recorrido recto total autosoportado puede ampliarse hasta un máximo del 50% del FLG.
Cadenas portacables autosoportadas B: El recorrido recto total autosoportado puede ampliarse hasta un máximo del 100% del FLG.
Cadenas portacables autosoportadas C: El recorrido recto total autosoportado puede ampliarse hasta un máximo del 100% del FLB .

La influencia de la velocidad y la aceleración en la vida útil

En aplicaciones autosoportadas, la aceleración (a) es el parámetro más crítico en comparación con la velocidad (v). Una aceleración alta puede provocar vibraciones en la cadena portacables, lo que disminuye su vida útil. Esta situación es especialmente preocupante si la cadena portacables ya presenta una curvatura superior a FLG. Los valores máximos de aceleración (a), velocidad (v) y vida útil sólo se logran con las cadenas portacables que cuentan con el recorrido recto autosoportado FLG.
Los sistemas de cadena portacables de igus® pueden soportar cargas muy elevadas. Hasta la fecha, se ha logrado una aceleración máxima de 784 m/s2 durante su uso continuo.
Valores estándar de velocidad y aceleración máximas (no admitidos)
  FLGFLB
V máx.[m/s]203
V pico[m/s]50-
A. máx.[m/s2]2006
A pico[m/s2]784-
Valores orientativos estándar para la vida útil en FLG 10 millones de ciclos

Serie recomendable para máxima velocidad y aceleración


Tienda online de cadenas portacables Seleccione la cadena portacables adecuada para su aplicación en la tienda online.
Cadenas portacables Configure el sistema de suministro de energía de forma rápida y sencilla con el configurador de cadenas portacables.
Información sobre la cadena portacables Más información sobre los parámetros básicos y el cálculo, las normas de llenado y mucho más.

Consultas

I would be happy to answer your questions personally

Consulta y envíos

En persona:

De lunes a viernes de 7:00 a 20:00
Sábados de 8:00 a 12:00

Online:

24h


Los términos "Apiro", "AutoChain", "CFRIP", "chainflex", "chainge", "chains for cranes", "ConProtect", "cradle-chain", "CTD", "drygear", "drylin", "dryspin", "dry-tech", "dryway", "easy chain", "e-chain", "e-chain systems", "e-ketten", "e-kettensysteme", "e-loop", "energy chain", "energy chain systems", "enjoyneering", "e-skin", "e-spool", "fixflex", "flizz", "i.Cee", "ibow", "igear", "iglidur", "igubal", "igumid", "igus", "igus improves what moves", "igus:bike", "igusGO", "igutex", "iguverse", "iguversum", "kineKIT", "kopla", "manus", "motion plastics", "motion polymers", "motionary", "plastics for longer life", "print2mold", "Rawbot", "RBTX", "readycable", "readychain", "ReBeL", "ReCyycle", "reguse", "robolink", "Rohbot", "savfe", "speedigus", "superwise", "take the dryway", "tribofilament", "tribotape", "triflex", "twisterchain", "when it moves, igus improves", "xirodur", "xiros" y "yes" son marcas comerciales legalmente protegidas de igus® SE & Co. KG en la República Federal de Alemania y otros países. Esta es una lista no exhaustiva de las marcas comerciales de igus SE & Co. KG o de empresas afiliadas de igus en Alemania, la Unión Europea, EE.UU. y/u otros países o jurisdicciones.

igus® SE & Co. KG puntualiza que no vende ningún producto de las empresas Allen Bradley, B&R, Baumüller, Beckhoff, Lahr, Control Techniques, Danaher Motion, ELAU, FAGOR, FANUC, Festo, Heidenhain, Jetter, Lenze, LinMot, LTi DRiVES, Mitsubishi, NUM, Parker, Bosch Rexroth, SEW, Siemens, Stöber y cualquier otro fabricante mencionado en esta página web. Los productos que ofrece igus® S.L.U. son los de igus® SE & Co. KG.