Por favor seleccione el país de entrega adecuado

Algunos factores como el precio de los productos, su disponibilidad u otros servicios pueden verse afectados por la selección del país de entrega.
My contact person
Vendortec Chile

Avda. Los Pajaritos 3195, Oficina 1410

Edificio Centro Maipú

Maipú – Santiago

+56 - 22 710 58 25
CL(ES)

Cálculo de la longitud de la cadena portacables y de la precarga

Cómo calcular la longitud de la cadena portacables para un movimiento lineal

Para empezar, identifique el extremo fijo: es decir, la posición de conexión de la cadena portacables que permanecerá inmóvil. Se recomienda ubicar el extremo fijo en el centro del recorrido. Esta opción resulta más económica, ya que requiere una menor cantidad de cadena portacables y cable. Por supuesto, también es posible colocar el extremo fijo lejos del centro de desplazamiento. La longitud de la cadena se calcula de la siguiente manera:

Situar el extremo fijo en el centro del recorrido
es siempre la solución más económica.

Para aplicaciones autosoportadas

En las aplicaciones autosoportadas, el ramal superior de la cadena portacables se desplaza en paralelo al ramal inferior a lo largo de todo el recorrido horizontal.
 

Para extremos fijos en el centro del recorrido

Cálculo de la longitud de la cadena

Lk = S/2 + K

AbreviaturasDescripciónUnidad
LKLongitud de la cadena portacables[mm]
S/2Media longitud del recorrido[mm]
KAdición para el radio de curvatura (K se obtiene de las tablas de datos de cada serie)[mm]
RRadio de curvatura[mm]

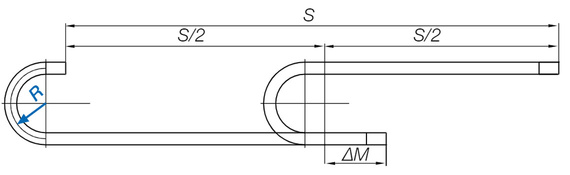
Para extremos fijos fuera del centro del recorrido

Cálculo de la longitud de la cadena

Lk = S/2 + ∆M +K

AbreviaturasDescripciónUnidad
LKLongitud de la cadena portacables[mm]
S/2Media longitud del recorrido[mm]
KAdición para el radio de curvatura (K se obtiene de las tablas de datos de cada serie)[mm]
∆MDesviación del punto central[mm]
RRadio de curvatura[mm]

Para aplicaciones deslizantes

En un sistema de cadena portacables deslizante, la cadena se desliza la mitad en el ramal inferior y la otra mitad en una barra deslizante.

Cálculo de la longitud de la cadena A = Extremo móvil
B = Extremo fijo
C = Carril de guiado con barra deslizante
D = Carril de guiado sin barra deslizante
E = Longitud total del carril de guiado

Lk = S/2 + K2

AbreviaturasDescripciónUnidad
LKLongitud de la cadena portacables[mm]
S/2Media longitud del recorrido[mm]
K2Adición para el radio de curvatura si se reduce la altura del punto de montaje[mm]
∆CLDesplazamiento del extremo fijo[mm]
RRadio de curvatura[mm]
D2Longitud adicional para largos recorridos deslizantes[mm]
H2Altura de montaje con punto de fijación rebajado[mm]
HRiAltura interior del carril[mm]

Precarga

La precarga hace referencia a la curvatura del ramal superior a lo largo de su longitud, manteniéndose autosoportada. Si no se aplica esta precarga, el ramal superior se curvaría a lo largo de la longitud autosoportada bajo el peso de los cables y tubos insertados. Por encima de un valor límite, ya no se podía garantizar un funcionamiento fiable de la cadena portacables. Por esta razón, igus fabrica todas las cadenas portacables con precarga.
Ventajas de la precarga:
  • Mayores longitudes autosoportadas
  • Mayor vida útil y fiabilidad operativa
La altura de instalación necesaria depende de la precarga de la cadena portacables con el valor total HFEncontrará la dimensión HF en las páginas del producto.
AbreviaturasDescripciónUnidad
HHolgura vertical nominal[mm]
HFHolgura vertical necesaria[mm]
Cadena portacables

Configurador de cadenas portacables

El configurador de cadenas portacables permite diseñar un sistema de cadena portacables personalizado y listo para conectar en unos pocos pasos. 
  • Configuración online rápida y sencilla
  • Visualización del precio, la vida útil y el plazo de entrega
  • Posibilidad de compartir el proyecto con otras personas
Configure su cadena portacables ahora

Consultas

I would be happy to answer your questions personally

Consulta y envíos

En persona:

De lunes a viernes de 7:00 a 20:00
Sábados de 8:00 a 12:00

Online:

24h


Los términos "Apiro", "AutoChain", "CFRIP", "chainflex", "chainge", "chains for cranes", "ConProtect", "cradle-chain", "CTD", "drygear", "drylin", "dryspin", "dry-tech", "dryway", "easy chain", "e-chain", "e-chain systems", "e-ketten", "e-kettensysteme", "e-loop", "energy chain", "energy chain systems", "enjoyneering", "e-skin", "e-spool", "fixflex", "flizz", "i.Cee", "ibow", "igear", "iglidur", "igubal", "igumid", "igus", "igus improves what moves", "igus:bike", "igusGO", "igutex", "iguverse", "iguversum", "kineKIT", "kopla", "manus", "motion plastics", "motion polymers", "motionary", "plastics for longer life", "print2mold", "Rawbot", "RBTX", "readycable", "readychain", "ReBeL", "ReCyycle", "reguse", "robolink", "Rohbot", "savfe", "speedigus", "superwise", "take the dryway", "tribofilament", "tribotape", "triflex", "twisterchain", "when it moves, igus improves", "xirodur", "xiros" y "yes" son marcas comerciales legalmente protegidas de igus® SE & Co. KG en la República Federal de Alemania y otros países. Esta es una lista no exhaustiva de las marcas comerciales de igus SE & Co. KG o de empresas afiliadas de igus en Alemania, la Unión Europea, EE.UU. y/u otros países o jurisdicciones.

igus® SE & Co. KG puntualiza que no vende ningún producto de las empresas Allen Bradley, B&R, Baumüller, Beckhoff, Lahr, Control Techniques, Danaher Motion, ELAU, FAGOR, FANUC, Festo, Heidenhain, Jetter, Lenze, LinMot, LTi DRiVES, Mitsubishi, NUM, Parker, Bosch Rexroth, SEW, Siemens, Stöber y cualquier otro fabricante mencionado en esta página web. Los productos que ofrece igus® S.L.U. son los de igus® SE & Co. KG.